Craftsman Trimmer Parts Diagram

Craftsman 22 Weed Trimmer Parts. An Illustrated Guide to Craftsman 22 Weed Trimmer Parts 532180338 Carrier Plate & 532182219 Trimmer Line Compatible with Husqvarna Craftsman 22" Walk Behind Trimmer, Replaces. 1-16 of over 1,000 results for "Craftsman Trimmer Mower Parts" Results.

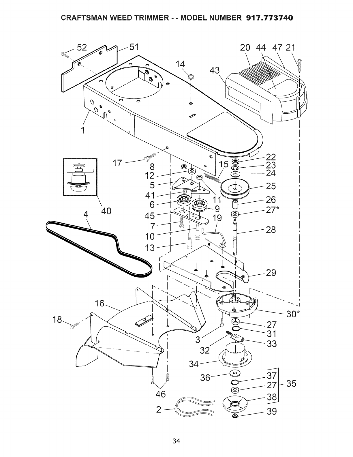
Craftsman 917773740 User Manual WHEELED WEED TRIMMER Manuals And Guides
Craftsman 917773740 User Manual WHEELED WEED TRIMMER Manuals And Guides from usermanual.wiki

Here are the diagrams and repair parts for Official Craftsman 917773710 wheeled weed trimmer, as. 1-16 of over 1,000 results for "Craftsman Trimmer Mower Parts" Results.

Craftsman 917773740 User Manual WHEELED WEED TRIMMER Manuals And Guides

Craftsman 917773710 gas line trimmer parts - manufacturer-approved parts for a proper fit every time! We also have installation guides, diagrams and manuals to help you along the way! Here are the diagrams and repair parts for Official Craftsman 917773710 wheeled weed trimmer, as. 532180338 Carrier Plate & 532182219 Trimmer Line Compatible with Husqvarna Craftsman 22" Walk Behind Trimmer, Replaces.

Craftsman 22" Weed Trimmer Carburetor Cleaning and Diagnosis YouTube. 1-16 of over 1,000 results for "Craftsman Trimmer Mower Parts" Results. In Stock Add to Cart $145.89 Add to Cart 41 Spacer Obsolete - Not Available

Craftsman 22" Weed Trimmer Briggs Quantum Engine Block Swap YouTube. Shop OEM replacement parts by symptoms or model diagrams for your Craftsman 917.773706 High Wheel Weed Trimmer! Search. The Craftsman 22 weed trimmer parts diagram provides a detailed breakdown of the trimmer's various components, including the engine, fuel tank, handle, cutting head, and more